Motorola was the first company to produce a handheld mobile phone in the year 1973. Over the years, the company has produced several exceptional devices some of which include the Moto RAZR and Moto G. A report published by the WSJ claimed that the company is developing a successor to the Moto RAZR which will have a foldable display. A fresh patent exhibits that the company is not only working on the foldable Moto RAZR but is also working on a large smartphone cum tablet with a foldable display.
Foldable Motorola Tablet Cum Smartphone
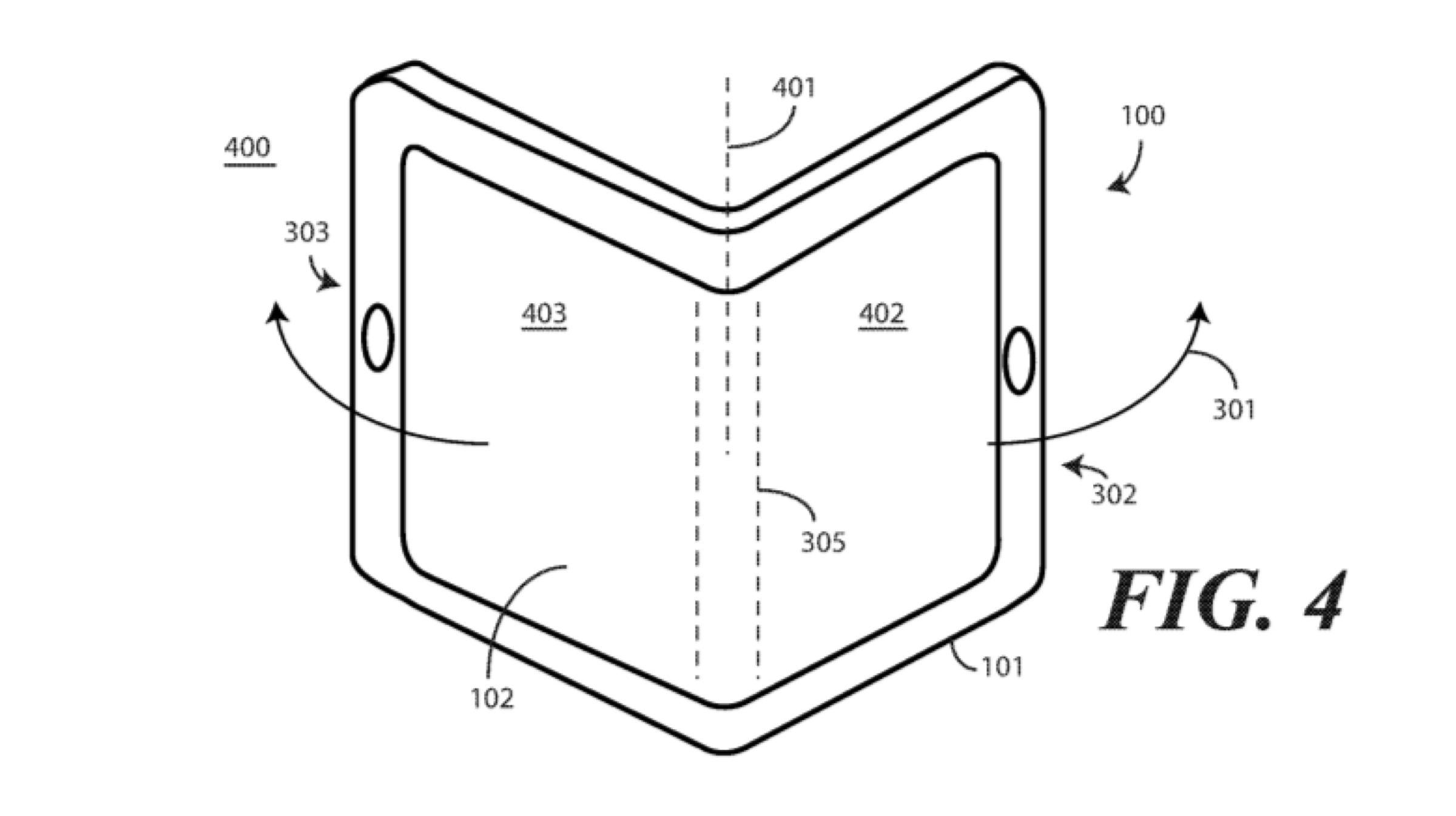
In mid-2017, Motorola filed a patent with two different patent agencies which include USPTO (United States Patent and Trademark Office) and WIPO (World Intellectual Property Office). The patent was published on 10 January 2019 and it discloses information about a Foldable smartphone cum tablet that the company is working on.
The patent for the foldable device from Motorola highlights several technologies that are currently unheard of. Unlike the Samsung Galaxy F, the Motorola device in the patent folds outwards. It proposes an innovative feature to navigate through smartphones. When in the folded state, the touchscreen that faces the rear can be used to navigate menus on the front screen. In simpler words, the user can control activities on the front display with the help of touch gestures on the rear display.
The foldable Motorola smartphone cum tablet has a home button on the right side and it also has a custom UI (User Interface) for easy navigation on a tall and narrow device. In addition to navigation via the rear side display, the front camera in the top bezel tracks the head movement of the user and can be used for hands-free navigation.
Another image from the patents shows that the foldable Motorola smartphone cum tablet can be used as an alarm clock when set in a partially folded state. While it is set on a flat surface as an alarm clock, the user can continue using the other half of the screen.
Launch Date
Also Read: Redmi Note 7 Survives After Being Used As Skates And Thrown Down From Stairs
Unfortunately, Motorola has not yet commented about the launch date or existence of such a device. The company can, however, astonish the tech industry by showcasing it at the MWC 2019 which is scheduled for 25-29 February.





Leave a Reply