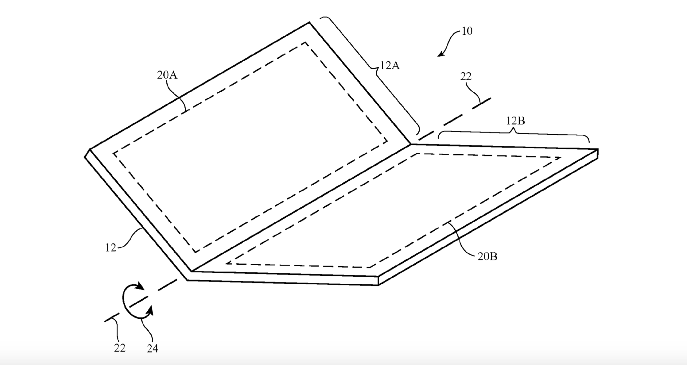
Apple has just been awarded a patent for anew device which the patent application defines as an iPhone. According to the patent Apple is researching foldable iPhone designs starting from back in 2013. This patent was filed in August and awarded today shows a new design iPhone which will look identical to the current iPhone when folded, but will unfold into a larger display device.
The patent application uses the words “carbon nanotubes” to define the mechanism that will hold the bendy iPhone together.
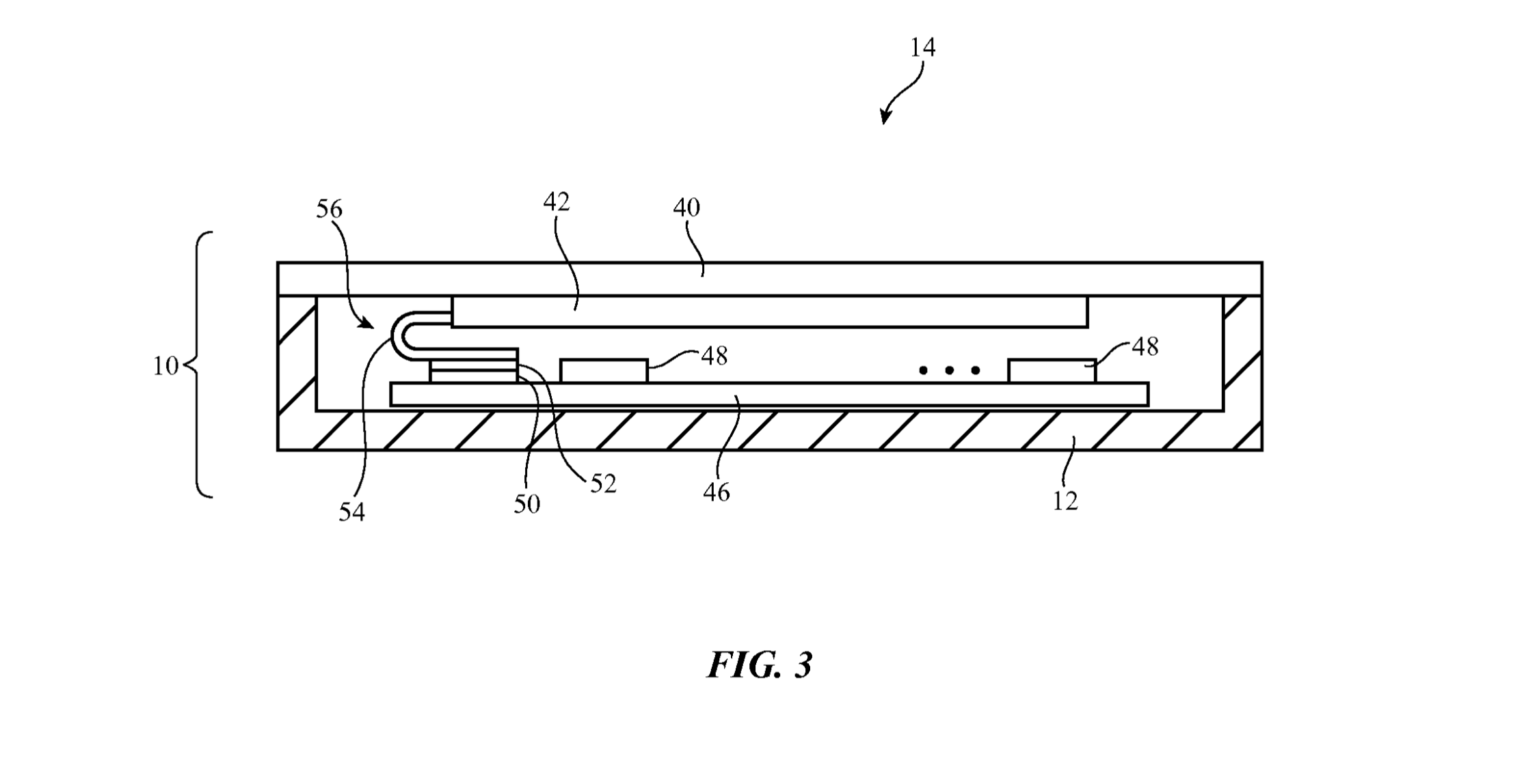
Conductive carbon nanotube paths can form signal paths that are flexible and resistant to cracking. The carbon nanotube structures may be incorporated into signal cables such as flexible printed circuit cables, rigid printed circuit boards, printed circuits that include rigid portions with flexible tails (sometimes referred to as “rigid flex”), portions of display structures, portions of touch sensors such as capacitive touch sensor arrays for displays or track pads, camera structures, antenna structures, housing structures, internal device structures, electrical components, substrates, brackets, housing walls, other structures, or combinations of these structures.
The application also mentions that the structure may have a hinge or a bendable joint. The iPhone of the patent may never come into play or could simply be the next iPhone of 2017.
Samsung too has been showing off bendable screens for a while and did showcase a bendable screen last year that could potentially become a smartphone of the future. Samsung patents range from various devices to various display and bend technology types and can be seen here.




Leave a Reply