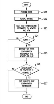
A company called Operating Systems Solutions (OSS) is suing Apple for OS X’s fast booting operation.Apple’s function, seen the the Macbook Air launched this year, violates at least one protected claim, which details a four-step method for speedy booting, and involves files like config.sys and autoexec.bat.
The patent was originally granted to LG Electronics, back in 2002, but is now currently owned by Operating Systems Solutions (OSS).

Leave a Reply